COPYRIGHT©广州慧正云科技有限公司 www.hzeyun.com 粤ICP备18136962号 增值电信业务经营许可证:粤B2-20201000
来源:慧正资讯 2019-12-09 11:39
慧正资讯:近日,中国比地招标网发布中铁二十局集团有限公司B类物资集中框架采购招标(招标编号:CR20-KJZB-WC-2019-02)的评标结果。
评标结果显示,本次集中采购共有11个标段,其中防水材料包含4个。卓宝、辽宁大禹、宏源防水、大禹九鼎、科顺股份、青龙防水等21家企业中标防水材料(FSCL01)标段,北新禹王、宇虹、辽宁大禹、蓝盾、宏源、大禹九鼎等20家企业中标防水材料(FSCL02)标段,中鑫橡胶、众鑫橡胶、广信橡胶等20家企业中标防水材料(FSCL03)标段,宏源、禹能建材、金地工程等15家企业中标防水材料(FSCL04)标段。
中铁二十局集团有限公司防水材料集中框架采购招标推荐中标候选人 |
||||
包件号 |
推荐中标候选人名称 |
排名 |
推荐中标候选人名称 |
排名 |
防水材料(FSCL01) |
大禹九鼎新材料科技有限公司 |
1 |
宏源防水科技集团有限公司 |
12 |
远大洪雨(唐山)防水材料有限公司 |
2 |
武汉市恒星防水材料有限公司 |
13 |
|
四川金兴邑都建筑材料有限公司 |
3 |
金盾建材(唐山)有限公司 |
14 |
|
中油佳汇防水科技(深圳)股份有限公司 |
4 |
陕西新红太阳防水工程股份有限公司 |
15 |
|
四川省宏源防水工程有限公司 |
5 |
盐城市龙昌塑胶制品有限公司 |
16 |
|
山西四方恒泰防水材料有限公司 |
6 |
襄阳九阳防水材料有限公司 |
17 |
|
科顺防水科技股份有限公司 |
7 |
辽宁大禹防水科技发展有限公司 |
18 |
|
广东天骄建材有限公司 |
8 |
沈阳星辰防水科技有限公司 |
19 |
|
深圳市卓宝科技股份有限公司 |
9 |
湖北富亿建材股份有限公司 |
20 |
|
成都大邑县飞翎化工防水材料厂 |
10 |
广西青龙化学建材有限公司 |
21 |
|
河南华瑞兴业防水科技有限公司 |
11 |
22 |
||
防水材料(FSCL02) |
北京宇阳泽丽防水材料有限责任公司 |
1 |
辽宁大禹防水科技发展有限公司 |
11 |
远大洪雨(唐山)防水材料有限公司 |
2 |
宏源防水科技集团有限公司 |
12 |
|
大禹九鼎新材料科技有限公司 |
3 |
湖北宇虹防水科技有限公司 |
13 |
|
广东禹能建材科技股份有限公司 |
4 |
山西四方恒泰防水材料有限公司 |
14 |
|
山东鑫达鲁鑫防水材料有限公司 |
5 |
中油佳汇防水科技(深圳)股份有限公司 |
15 |
|
武汉市恒星防水材料有限公司 |
6 |
广东天骄建材有限公司 |
16 |
|
四川金兴邑都建筑材料有限公司 |
7 |
深圳蓝盾控股有限公司 |
17 |
|
金盾建材(唐山)有限公司 |
8 |
江苏苏博特新材料股份有限公司 |
18 |
|
盘锦禹王防水建材集团有限公司 |
9 |
衡水晟玮工程材料有限公司 |
19 |
|
湖北雨晴伟业防水技术发展有限公司 |
10 |
湖北富亿建材股份有限公司 |
20 |
|
防水材料(FSCL03) |
陕西中鑫工程橡胶有限公司 |
1 |
衡水润兴橡胶制品有限公司 |
11 |
衡水众鑫工程橡塑有限公司 |
2 |
衡水正升工程橡塑有限公司 |
12 |
|
河北广信橡胶科技有限公司 |
3 |
重庆新海交通工程材料制造有限公司 |
13 |
|
衡水华冠橡塑有限公司 |
4 |
衡水滨河工程橡塑有限公司 |
14 |
|
重庆德桥橡胶有限公司 |
5 |
河北华虹工程材料有限公司 |
15 |
|
河北建泰橡胶制品有限公司 |
6 |
衡水亚欧软管有限公司 |
16 |
|
衡水英泰工程材料有限公司 |
7 |
河北科信特种橡塑有限公司 |
17 |
|
枣强县鑫泽土工材料有限公司 |
8 |
衡水晟玮工程材料有限公司 |
18 |
|
衡水兆维橡塑有限公司 |
9 |
瑞腾博远工程材料有限公司 |
19 |
|
衡水聚兴工程橡胶有限公司 |
10 |
衢州市开顺防排水材料有限公司 |
20 |
|
防水材料(FSCL04) |
山东金地工程材料有限公司 |
1 |
四川省宏源防水工程有限公司 |
9 |
中泰恒邦工程技术有限公司 |
2 |
陕西世诚泽惠防水科技有限公司 |
10 |
|
广东禹能建材科技股份有限公司 |
3 |
淮安市大有塑纤有限公司 |
11 |
|
河北华虹工程材料有限公司 |
4 |
枣强县鑫海防水塑胶制品有限公司 |
12 |
|
山东菲博瑞德新材料有限公司 |
5 |
江西华大工程材料有限公司 |
13 |
|
贵州时代铁建工程材料有限公司 |
6 |
河北科信特种橡塑有限公司 |
14 |
|
衡水翰林工程材料科技发展股份有限公司 |
7 |
西部铁建工程材料科技有限公司 |
15 |
|
山东恒瑞通新材料工程有限公司 |
8 |
16 |
||
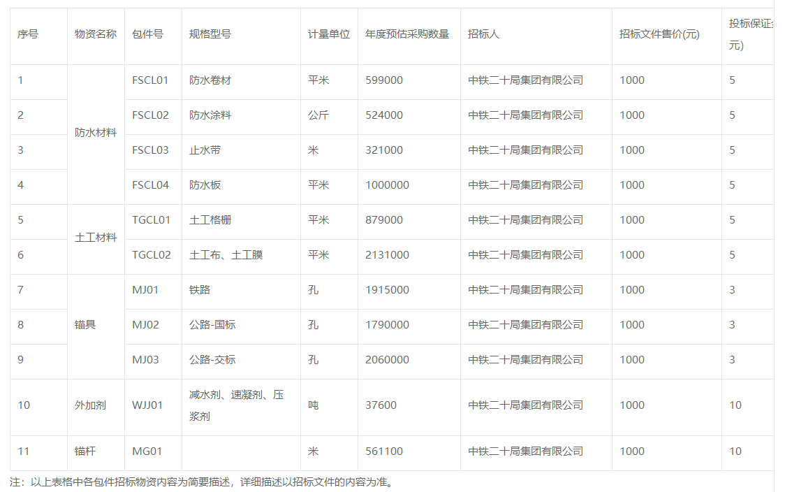
据了解,中铁二十局集团有限公司B类物资集中框架采购招标于9月31日进行公开招标,以下为主要采购内容:
此外,中铁二十局集团有限公司防水材料集中框架采购招标极为严格,企业需满足多项条件方可入选。防水材料包件生产能力要求需满足:a.防水卷材生产厂家须具备年产100万平米以上的生产能力;防水涂料生产厂家须具备年产5000吨以上的生产能力;止水带生产厂家须具备年产100万米以上的生产能力;防水板生产厂家须具备年产100万平米以上的生产能力;b.自身具有与产能配套的生产能力,生产工艺、装备必须符合国家防水材料产业发展政策的相关规定.
了解更多
中铁二十局集团公司始建于1948年,前身是铁道兵第十师,现为世界500强企业——中国铁建股份有限公司的全资子公司。企业注册资本金31.3亿元,资产总额330亿元,拥有各类施工设备3775台(套),年施工能力350亿元以上。
集团拥有各类资质121项,其中铁路、市政、公路、建筑工程4项总承包特级资质;具有公路、房建、水利工程等一级施工总承包资质37项,桥梁、隧道、城市轨道交通、铁路电务和电气化等专业承包资质53项;同时还具有铁道行业甲(Ⅱ)级设计资质、市政行业甲级设计资质、公路行业甲级设计资质、建筑工程专业甲级、市政(桥梁)工程甲级、地质勘察设计甲级资质6项设计资质,以及地质灾害防治工程甲级、一级爆破作业许可证、对外承包工程资格证、对外援助成套项目总承包资格、承装(修、试)电力设施许可证、城市园林绿化资质、房地产开发资质、工程检测资质、工程咨询资质、工业产品制造资质、铁路运输许可等25项其他资质。